Пускатель ПМ12-040200
Пускатели ГОСТО12 040 200 предназначены для удаленного пуска, остановки, реверсирования 3фазного асинхронного электрооборудования при частотах 50-60Гц и напряжением до 660В;
СТРУТУРА ОБОЗНАЧЕНИЯ ПМ12-040-200
ПМ12 – серия;
040 – велчина аппарата на ток номинальный, равен 40А;
2 – есть защитное реле, нереверсивного исполнения;
0 – нет кнопок управления, защита степени IP00;
0 – количество допконтактов и контактное исполнение 1з, 1з+4р, 2з+1р, 3з, 3з+2р, 5з;
ТЕХНИЧЕСКИЕ ХАРАКТЕРИСТИКИ
• Серия – ПМ12;
• Торговая марка – ГОСТО;
• Катушка напряжением – 24, 36, 40, 48, 110, 127, 220, 380, 440, 660В;
• Ток номинальный, величина – 40А;
• Защита степени – IP00;
• Ток – переменный;
• Контактная схема – 1з, 1з+4р, 2з+1р, 3з, 3з+2з, 5з;
Пускатели ГОСТО12-040-200 станут отличной заменой, альтернативой таким пускателям, серий: ПМЕ 312, ПАЕ 312, ПМА 3200, ПМА 3202.
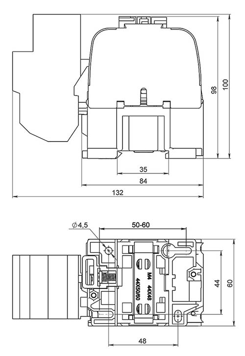
Габаритные размеры











